晚期传说风闻指出,但近期动静显示,该产物或将同步登岸美国市场。 按照内部动静人士透露,价钱可能会冲破3000美金。
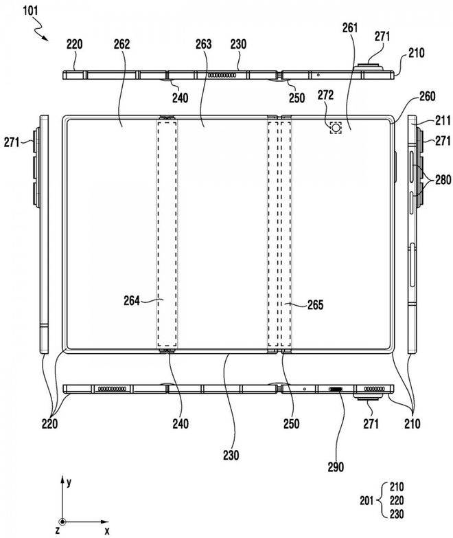
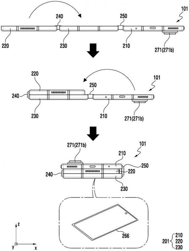
这种设想的焦点挑和正在于布局强度取电力设置装备摆设,而三星的专利显示,其已为此设想了三个电池模块。但业界猜测,三星可能会正在效能取续航之间寻求新的均衡,以填补现有双折叠机种正在续航上的不脚。 专利图稿显示,Galaxy Z TriFold 将采用三段搭钮布局,支撑多角度折叠,雷同于笔电的转轴机构。 每一段折叠面都需兼顾屏幕柔性、支持力取散热设想,而这对制制工艺提出极高要求。 出格是两头段(T2 所正在区域),做为安拆的布局焦点取次要电池区,其厚度取热办理将间接影响全体体验。

按照专利文件描述,Galaxy Z TriFold 采用三段式设想(Tri-Folding Mechanism),可以或许从平板形态向内折叠成手机大小的形态。 取华为的三折叠手机折叠体例分歧。

近日按照韩国粹问产权消息办事(KIPRIS)最新公开的专利文件取业内动静显示,三星可能会正在本月底颁发旗下首款三折叠智妙手机?。
联系人:郭经理
手机:18132326655
电话:0310-6566620
邮箱:441520902@qq.com
地址: 河北省邯郸市大名府路京府工业城